
This is the Dynaco
PAS3 manual. F ellow
hobbyists should find it useful to maintain and modify this versatile
little preamp.
Please use your browsers "back" button
for naviagtion.
Cover page
Specifications
Page 3 - Description and Use
Page 4 - General Wiring Practice
Page 5 - Front panel assembly
Page 6 - Main chassis assembly
Page 7 - Main chassis wiring
Page 8 - Back panel and Selector switch
subassembly
Page 9 - Final Assembly
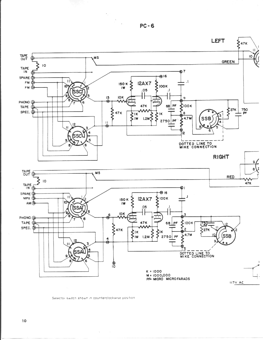
Page 10 - Schematic (1 of 2)
Page 11 - Schematic (2 of 2)
Page 12 - "Special" Input
and Completion
Page 13 - Installing, Functions, Transformer
wiring, Enjoying!
Page 14 - In Case of Trouble...
Page 15 - Factory Service and Warranty
Page 16 - Parts List
Page 17 - Underside chassis view
Page 18 - Topside chassis view
BACK TO DYNACO INDEX PAGE
HOME